主要产品:焊钉、栓钉 剪力钉 圆柱头焊钉钢结构螺栓

专注钢结构产品系列钢结构配件系列产品专业供应商

18330064396

您的位置: 首页 > 行业资讯

咨询热线

18330064396

钻尾螺钉标准与规格

浏览次数:3464 发布时间:2023-12-23
/  钻尾螺钉标准与规格  ///

钻尾螺丝属自攻螺丝的一种,因螺丝尾部带有钻尾尖,尖部像麻花钻头而得名,标准名称是自钻自攻螺丝,行业内也有称其为燕尾螺丝。钻尾螺丝在装配时能自行钻出中心孔,然后借助于临近的螺纹部分在载体上的孔内自攻挤削出与之配合的螺纹,不需要辅助加工,钻孔、攻丝、锁紧一次完成,大大节约装配时间。

GB15856.2十字沉头钻尾螺丝,又称十字沉头自钻自攻螺丝、平头钻尾螺丝,安装后头部与安装面紧密附着,完全平齐,外观良好。

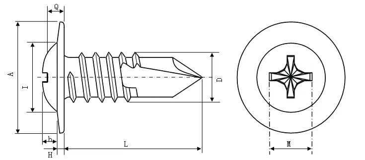
GB15856.1十字盘头钻尾螺丝,又称十字盘头自钻自攻螺丝、圆头钻尾螺丝。
图片
GB15856.4六角钻尾螺丝,又称六角法兰面自钻自攻螺丝、六角大华司钻尾螺丝,是钻尾螺丝中最常用的一款,扭矩传达力较高。
图片
华威头钻尾,圆头带有华司,分散荷重性良好。

图片

钻尾螺丝安装简单快速且韧性高维持力好,长时间也不会松动。
公众号二维码.jpg



┈┈┈┈ //  十字盘头自钻自攻螺丝标准  // ┈┈┈┈



O1CN01nMU0U31mEmXwnxggC_!!2200709204923-0-cib.jpg
┈┈┈┈ //  十字沉头自钻自攻螺丝标准  // ┈┈┈┈


O1CN01Efxlnj1mEmY1cP7KB_!!2200709204923-0-cib.jpg
┈┈┈┈ //  六角法兰面自钻自攻螺丝标准  // ┈┈┈┈




┈┈┈┈ //  华威头自钻自攻螺丝标准  // ┈┈┈┈




┈┈┈┈┈┈ //  自钻自攻螺丝材质  // ┈┈┈┈┈┈
钻尾螺丝按材质分为碳钢钻尾螺丝、不锈钢钻尾螺丝。常用不锈钢材质有SUS304、SUS316、SUS410等。

┈┈┈┈ //  自钻自攻螺丝标示方法  // ┈┈┈┈

O1CN01ag5z1I1mEmXnliXv3_!!2200709204923-0-cib.jpg
┈┈┈┈┈┈ //  自钻自攻螺丝性能  // ┈┈┈┈┈┈



O1CN01ao4RPh1mEmYTpxtHK_!!2200709204923-0-cib.jpg
┈┈┈┈┈ //  钻尾螺丝应用  // ┈┈┈┈