主要产品:焊钉、栓钉 剪力钉 圆柱头焊钉钢结构螺栓

专注钢结构产品系列钢结构配件系列产品专业供应商

18330064396

您的位置: 首页 > 行业资讯

咨询热线

18330064396

齿轮设计:方法与公式,一网打尽!

浏览次数:953 发布时间:2023-12-19

一、齿轮设计概述


齿轮,作为机械传动的重要组成部分,其设计方法与公式是每个工程师必须掌握的基础知识。本文将详细介绍齿轮设计的基本方法与公式,帮助您更好地理解和应用这一关键技术。


二、齿轮设计的基本步骤


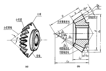
1. 确定齿轮参数:确定齿轮的模数、压力角、齿数、螺旋角等基本参数。

2. 绘制齿轮草图:在纸上或电脑上绘制齿轮的草图,以便更好地理解其结构。

3. 选择材料:根据使用环境选择合适的齿轮材料,如钢、铝合金等。

4. 计算载荷:根据传递的功率和转速,计算齿轮所受的径向和轴向载荷。

5. 校核强度:根据计算出的载荷和材料属性,校核齿轮的强度是否满足要求。

图片

三、齿轮设计的方法


1. 经验设计法


经验设计法是一种基于工程师经验的设计方法,主要依靠实践经验和参考手册来进行设计。这种方法简单快捷,但精度可能不高。


2. 力学设计法


力学设计法基于牛顿运动定律和齿轮传动的力学原理进行设计,需要一定的力学基础知识。这种方法较为精确,但计算过程较为复杂。


3. 数值模拟法


随着计算机技术的发展,数值模拟法已成为齿轮设计的重要手段。通过数值模拟软件,可以快速地进行仿真分析和优化设计,提高设计的精度和效率。

图片

四、齿轮设计的公式


1. 模数公式:m = \frac{p}{K} ,其中p为齿距,K为齿数。此公式用于确定齿轮的模数。

2. 压力角公式:α = arccos\frac{m}{2z} ,其中z为齿数。此公式用于确定齿轮的压力角。

3. 强度计算公式:σ = \frac{F}{W} ,其中σ为强度系数,F为所受载荷,W为材料的屈服极限。此公式用于校核齿轮的强度是否满足要求。


图片

五、总结


齿轮设计是机械工程中重要的技术之一,其方法与公式是每个工程师必须掌握的基础知识。通过以上介绍,您应该对齿轮设计的基本步骤、方法及公式有了更深入的了解。在实际应用中,应根据具体情况选择合适的设计方法,并通过不断的实践和总结,提高设计的精度和效率。